본문 바로가기
CONTACT US|ENGLISH

유압툴 & 시스템

발톱 잭 - EOLJ 시리즈

  • · 용량 : 5-30 ton

    · 스트로크 : 120~160 mm

    · 최대압력 : 700 bar

    · 4가지 표준 모델

    · 스프링 리턴 타입

    · ENPOS 발톱 잭은 다양한 산업에 사용됩니다.

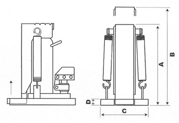
모델 번호 실린더 용량 (ton) 스트로크
(mm)
치수 (mm) 무게 (kg)
UP DOWN A B C D
EOLJ-52.5 5 2.5 120 243 363 170×230 19 11
EOLJ-105 10 5 150 290 440 188×260 22 19.1
EOLJ-2010 20 10 160 327 487 242×280 28 33.6
EOLJ-3015 30 15 160 347 507 273×308 32 51.2
  • 발톱 잭 사용법

    Never exceed the
    maximum capacity
    indicated.

    Support the top in the
    center and press to
    inside edge of the
    bottom plate.

    Keep the stroke less
    than 60mm when
    lifting an object
    from bottom.

    Keep the jack on level
    ground in all times.

    
개인정보취급방침|이용약관|이메일무단수집거부

회사명 : 한국유수압| 브랜드명 : ENPOS| 대표자 : 설철수| 본사 & 공장 : 부산광역시 강서구 녹산산단 289로 37 (송정동)| 전화번호 : 051-832-1100| 팩스 : 051-832-1110| E-mail : enpos@enpos.co.kr

© 2013 by KOREA HYDRAULIC CO. All Rights Reserved.