Home > Products > Hydraulic Tool Splitter

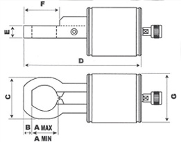
· Capacity: 14 ton & 32.5 ton
· Bolt range: 14 ton (M12-M24) / 32.5 ton (M20-M33)
· Max Working pressure: 700bar / Coupler port PT 3/8


| Model | Capa | Stroke | Oil capa | Diemension (mm) | Suitable pump | Weight | ||||||
|---|---|---|---|---|---|---|---|---|---|---|---|---|
| A | B | C | D | E | F | G | ||||||
| ENS-1415 | 14 ton | 15 mm | 31.8 cc | 15-45 | 12.5 | 73 | 221 | 23 | 62.5 | 78 | EJP-1B or KUP-35RH |
5.2 kg |
| ENS-32.520 | 32.5 ton | 20 mm | 93 cc | 39-62 | 19 | 98 | 278 | 29 | 85 | 115 | 12 kg | |

· For flange spreading & gasket exchange
· Max Working pressure: 700bar / Coupler port PT 3/8

| Model | Capacity | Max spread | Tip clearance | Weight | pump |
|---|---|---|---|---|---|
| EFS-661 | 14 ton | 61mm | 6mm | 7.1 kg | EJP-1B or KUP-35RH |

· For flange spreading & gasket exchange
· Max Working pressure: 700bar / Coupler port PT 3/8

| Model | Capacity | Max spread | Tip clearance | Weight | pump |
|---|---|---|---|---|---|
| EFS-949 | 14 ton | 94mm | 9mm | 2.0 kg | EJP-1B or KUP-35RH |
Company : KOREA HYDRAULIC CO.| Brand Name : ENPOS| C.E.O : Chul-soo Sul| Location of headquarter & factory : Noksan Industrial Complex 1591-2, Songjeong-Dong, Gangseo-Gu, Busan, Korea| Tel : +82-51-832-1100| Fax : +82-51-832-1110| E-mail : enpos@enpos.co.kr
© 2013 by KOREA HYDRAULIC CO. All Rights Reserved.